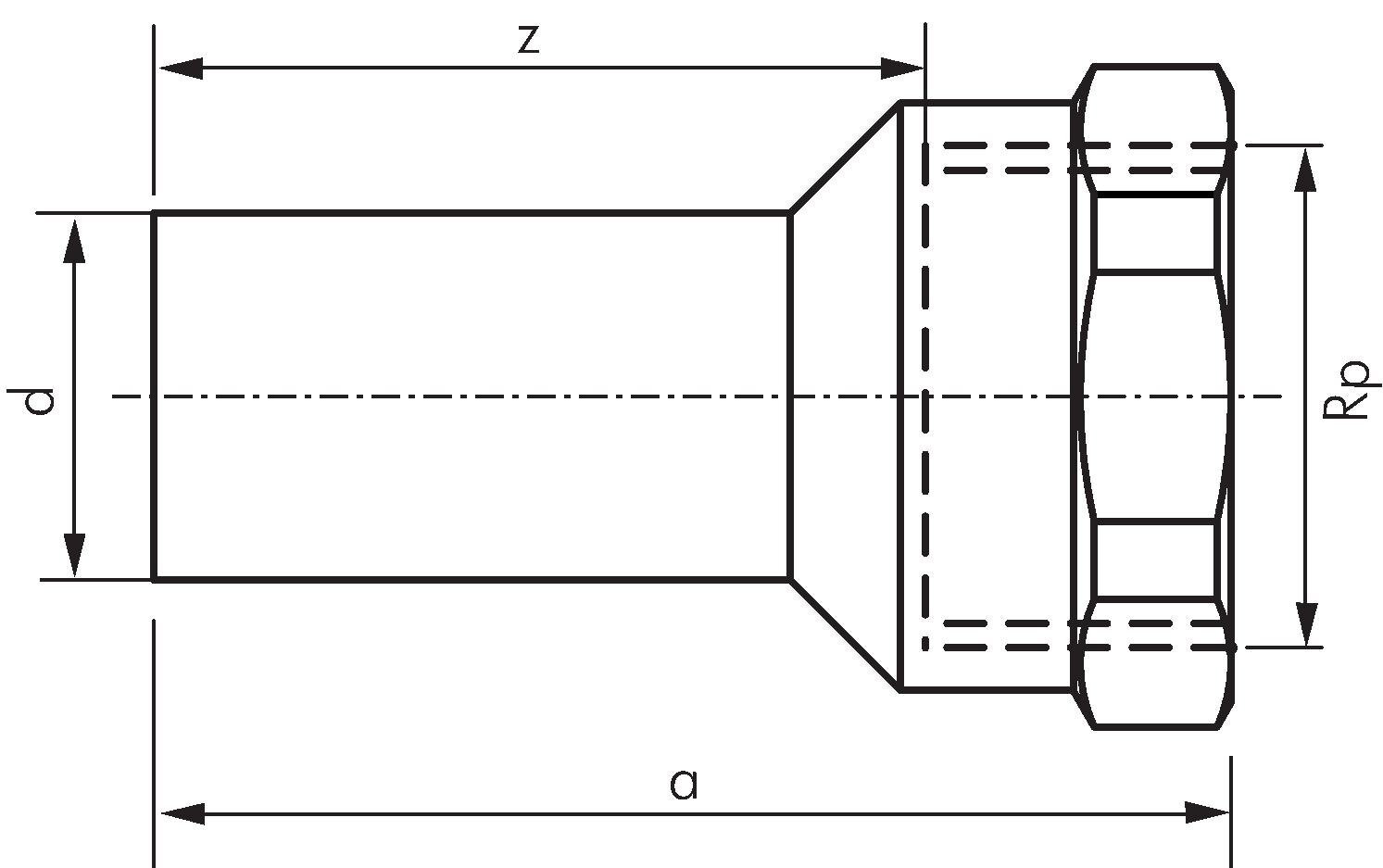
Crimped fitting, transition socket nipple 54mm male/Rp 2" female threads

{{ $t('shop.all.artikelnummer') }}:

PGAIA 2054 CU

Accessories

Payment options:

Cash on delivery

Invoice