Datenblatt

Bimetallthermometer, senkrecht D100/-20 bis +60°C/160mm
{{ $t('shop.all.artikelnummer') }}:
TST 26100160 ES
Exemplarische Darstellung
{{ $t('shop.display.artikel.beschreibung_headline') }}
Anwendung:
Industriemanometer für den Einsatz in Maschinen- und Behälterbau, Rohrleitungsbau und Heizungstechnik. Auch für aggressive Messstoffe geeignet.
Werkstoffe:
Gehäuse: 1.4301, Tauchschaft: 1.4571, Sichtscheibe: Instrumentenflachglas
Anzeigenkorrektur:
Verstellzeiger
Schutzart:
IP 43
Schutzrohr-Anschluss:
18 mm Bund (Schutzrohrtyp A)
Tauchschaft Ø:
8 mm
Klasse:
1
Temperaturbereich:
Umgebung: -20 bis +60 °C
Betriebsdruck am Tauchschaft:
max. 25 bar
Hinweis:
WIKA Typ R52
{{ $t('shop.display.artikel.eigenschaften_headline') }}
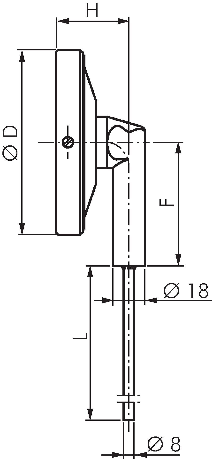
Durchmesser [mm] 100
Anzeigebereich [°C] -20 bis +60
Tauchschaftlänge L [mm] 160
Skalenteilung [K] 1
F [mm] 66
H [mm] 40
Weitere Informationen:
{{ $t('shop.all.gewicht') }} 270 g / Stk.
{{ $t('shop.all.gtin') }} 4050571705831
{{ $t('shop.display.artikel.zollwarennummer') }} 90251900
{{ $t('shop.display.artikel.rohskonform') }} {{ $t('shop.all.ja') }}
{{ $t('shop.all.hersteller') }} WIKA (WEEE DE92770372)
Bild
Zeichnung:
Zeichnung: Bimetallthermometer senkrecht ohne Schutzrohr
Landefeld Druckluft und Hydraulik GmbH · Konrad-Zuse-Straße 1 · 34123 Kassel · Deutschland
Alle Angaben verstehen sich als unverbindliche Richtwerte! Für nicht schriftlich bestätigte Datenauswahl übernehmen wir keine Haftung. Druckangaben beziehen sich, soweit nicht anders angegeben, auf Flüssigkeiten der Gruppe II bei +20°C.
Unsere Produkte und Waren sind grundsätzlich nur für die industrielle und gewerbliche Verwendung bestimmt.
Stand: 24.02.2026