Item group

3/2-directional time valves (long-term) for panel installation, TIMER

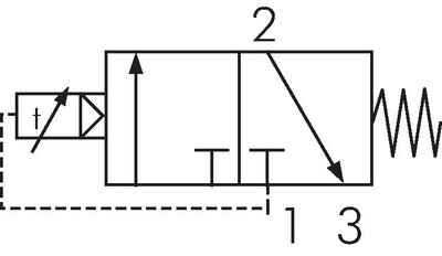
Exemplary representation: 3/2-way timer valve Schematic symbol: 3/2-way timer valve (NC)
Payment options:

Cash on delivery

Invoice