Item group

Replacement seals for safety compressor couplings, 42 mm

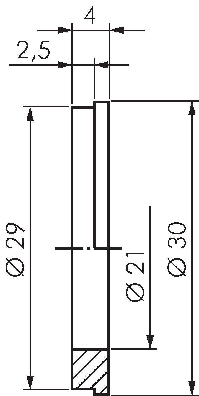
Exemplary representation: Replacement seal for safety compressor couplings detailed view: Compressor coupling dimensions
Payment options:

Cash on delivery

Invoice