Item group

Service Sets

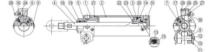
Exemplarische Darstellung: CK1A50-PS (CK1A50-PS)   &   CK1A63-PS (CK1A63-PS)
Payment options:

Cash on delivery

Invoice