Item group

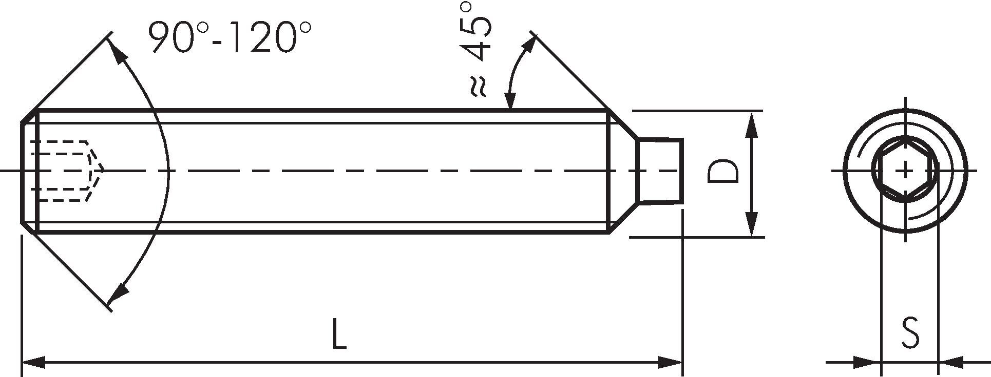
Threaded rods with hexagon socket & pin, DIN 915 / ISO 4028

Exemplary representation: Grub screw DIN 915 / ISO 4028 (black steel) Exemplary representation: Grub screw DIN 915 / ISO 4028 (stainless steel A2)
Payment options:

Cash on delivery

Invoice