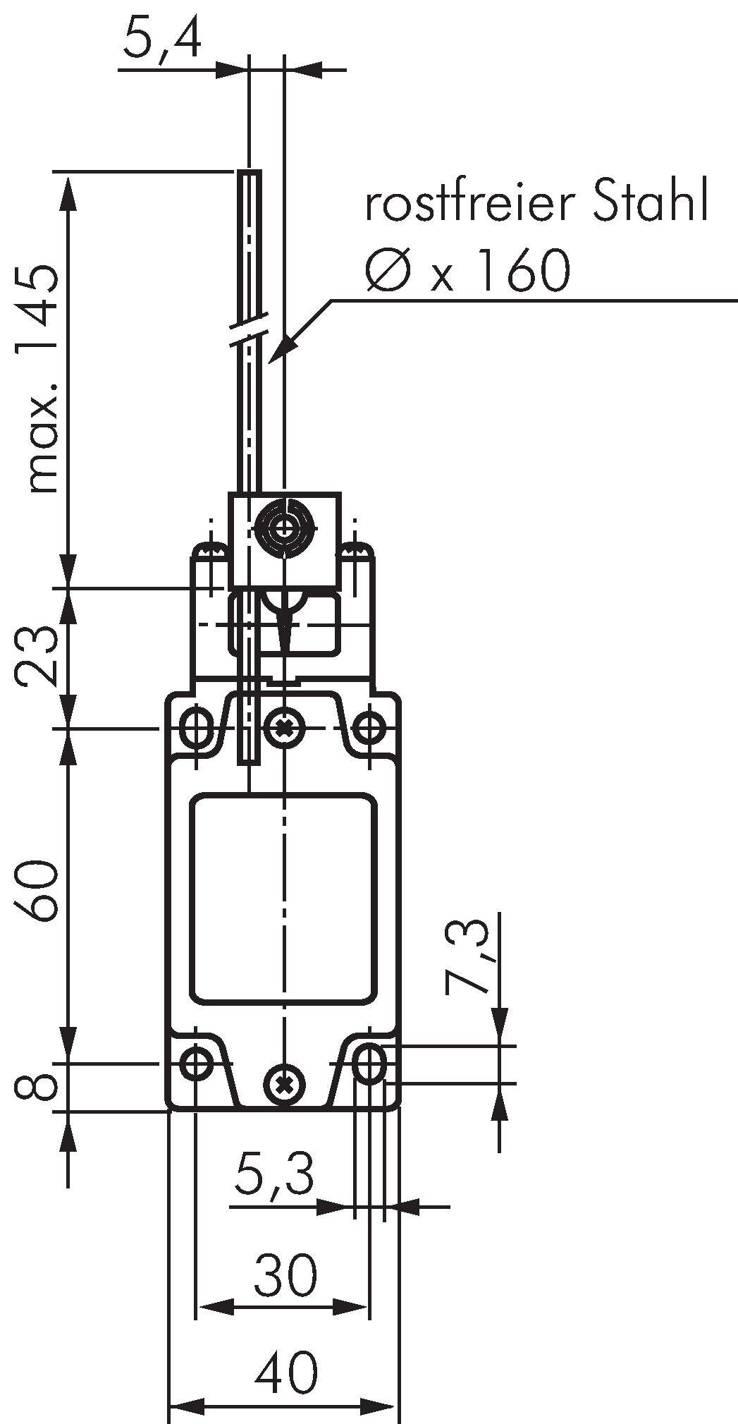
Omron safety position switch, Adjustable bar level

{{ $t('shop.all.artikelnummer') }}:

D4B4117N

Accessories

Payment options:

Cash on delivery

Invoice