Item group

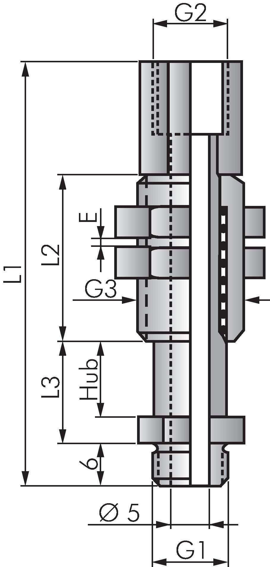
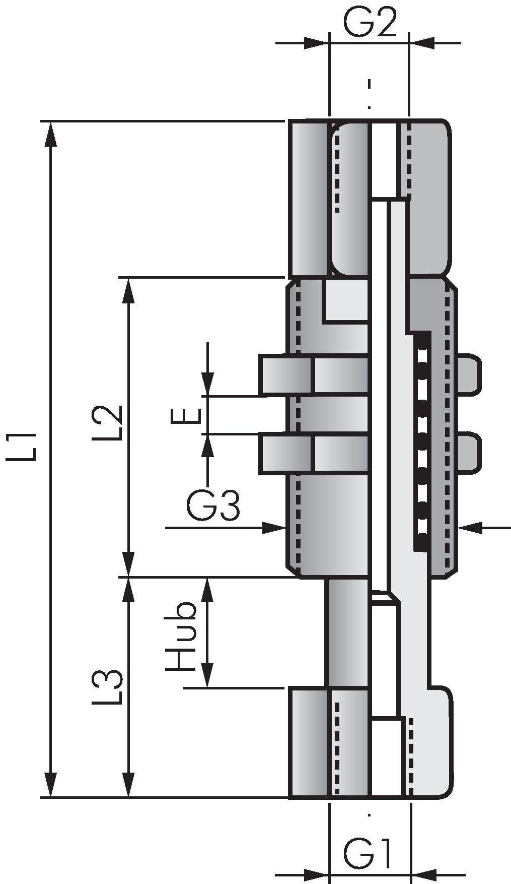
Spring plungers

Exemplary representation: Spring tappet
Payment options:

Cash on delivery

Invoice