Varegruppe

2/2-vejs & 3/2-vejs-miniventiler M5

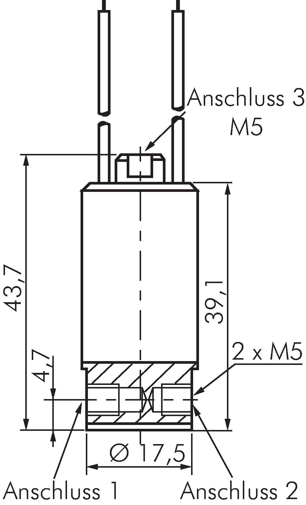
Principskitse: 2/2-vejs-magnetventil, strømløst lukket (NC) Principskitse: 3/2-vejs-magnetventil, strømløst lukket (NC) Skiftesymbol: 2/2-vejs-magnetventil, strømløst lukket (NC) Skiftesymbol: 3/2-vejs-magnetventil, strømløst lukket (NC)
Betalingsmuligheder:

Efterkrav

Faktura